| НАИМЕНОВАНИЕ ПАРАМЕТРА | ЗНАЧЕНИЕ ПАРАМЕТРА | |
|---|---|---|
| Количество радиальных неадресных пожарных шлейфов сигнализации (ШС) | 3 | |
| Количество радиальных неадресных контролируемых цепей | 4 | |
| Макс. сопротивление проводов ШС без учёта оконечного сопротивления | 100 Ом | |
| Допустимое сопротивление утечки между проводами ШС или каждым проводом и "землёй" | 50 кОм | |
| Подключаемые к ШС устройства | Неадресные пожарные и технологические извещатели с релейным выходом | без ограничений |
| Неадресные пожарные извещатели, питающиеся от ШС | общий ток потребления извещателей по одному ШС типа 1 - до 3 мА; общий ток потребления извещателей по одному ШС типа 2 - до 1,2 мА | |
| Напряжение на каждом входе ШС | 19 В ÷ 24 В при установленном оконечном резисторе 4,7 кОм±5% и токе потребления извещателей 0 ÷ 3 мА, 27 ± 0,5 В при обрыве ШС | |
| Ограничение тока в короткозамкнутом ШС | 26,5 мА (не более 20 мА через сработавший извещатель, при напряжении на извещателе более 6,8 В) | |
| Световая индикация на лицевой панели | 27 светодиодных индикаторов | |
| Встроенный звуковой сигнализатор | не менее 50 дБА на расстоянии 1 м | |
| Датчик вскрытия корпуса | микропереключатель | |
| Коммуникационный порт (для работы в ИСО «Орион») | RS-485, протокол Орион | |
| Питание прибора, основное | Сетевое напряжение от 187 до 242 В (50 Гц ± 5%) | |
| Питание прибора, резервное | 2 аккумуляторных батареи, 12 В, 4,5 А·ч | |
| Выход для питания внешних устройств стабилизированным напряжением | (24 ± 2) В/200 мА | |
| Контролируемые выходы | 5 шт. | |
| Цепи запуска и управления оповещателями | (24 ± 2) В/1 А (до 2 А в течение 2 с), ток контроля 1,5 мА | |
| Неконтролируемые выходы | 3 шт. | |
| Реле «Пожар», «Неисправность» | 0,1 А/100 В | |
| Реле «NO-NC-COM» (управление вентиляцией, дымоудалением и т.д) | 2 А/28V DC | |
| Внешний считыватель электронных идентификаторов (ЭИ) | 1 вход | |
| Рабочий диапазон температур | от 0 до +50 °C | |
| Относительная влажность | до 98% при +25 °C | |
| Степень защиты корпуса | IР30 | |
| Габаритные размеры | 305×255×95 мм | |
| Масса прибора | не более 6 кг (без аккумуляторной батареи) | |
| Средний срок службы | 10 лет | |
| Программирование прибора | программа UProg.exe | |
Декларация о соответствии требованиям Евразийского экономического союза ТР ТС 004/2011 (760 Кб) 
Декларация о соответствии требованиям Евразийского экономического союза ТР ТС 020/2011 (2025-2030) (4 Mб) 
Сертификат соответствия Интергазсерт (3 Mб) 
Сертификат соответствия ТР ЕАЭС 043/2017 (3 Mб) 
Сертификат ГОСТ Р ИСО 9001-2015 (384 Кб) 
Письмо ОС "ПОЖТЕСТ" ФГБУ ВНИИПО МЧС России "О сроках действия сертификатов соответствия" (886 Кб) 
Сводный список сертификатов продукции (1 Mб) 
Письмо о сроках действия сертификатов (2 Mб) 
Разрешение на применение ИСО "Орион", Казахстан (479 Кб) 
UProg (4.1.9 build 17774) (11 Mб) 
Руководство по эксплуатации вер. 3.62 (1 Mб) 
Руководство по эксплуатации вер. 3.60 (2 Mб) 
Инструкция по монтажу (1 Mб) 
Руководство по эксплуатации вер. 3.52 (3.53) (2 Mб) 
Руководство по эксплуатации вер. 3.51 (1 Mб) 
Руководство по эксплуатации вер. 3.50 (2 Mб) 
Руководство по эксплуатации вер. 3.08 (2 Mб) 
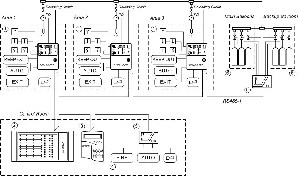
Типовой рабочий проект автоматической установки централизованного газового пожаротушения (863 Кб) 
Методическое пособие. Техническое обслуживание АУП с С2000-АСПТ (2 Mб) 
Сведения по совместимости оборудования и ПО (2 Mб) 
УГО ИСО Орион вер. 1.3 (830 Кб) 
Схема подключения (209 Кб) 
Габаритные размеры (335 Кб) 
| Версия прошивки | Содержание отличий | Начало выпуска |
|---|---|---|
Прошивка вер. 3.62 (118 Кб) ![]() |
| 01.06.2022 |
Прошивка вер. 3.60 (116 Кб) ![]() рекомендуется Прошивка вер. 3.62 (118 Кб)
|
| 01.12.2021 |
| Версия прошивки | Содержание отличий | Начало выпуска |
|---|---|---|
Прошивка вер. 3.53 (130 Кб) ![]() |
| 01.06.2017 |
Прошивка вер. 3.51 (125 Кб) ![]() рекомендуется Прошивка вер. 3.53 (130 Кб)
|
| 01.12.2016 |
Прошивка вер. 3.50 (124 Кб) ![]() рекомендуется Прошивка вер. 3.53 (130 Кб)
|
| 01.04.2016 |
Прошивка вер. 3.08 (111 Кб) ![]() рекомендуется Прошивка вер. 3.53 (130 Кб)
| Повышена надежность работы прибора в режиме "Авария сети". Рекомендуется обновить "С2000-АСПТ" версий 3.02, 3.05, 3.06 и 3.07 | 01.04.2015 |
Прошивка вер. 3.02 (107 Кб) ![]() рекомендуется Прошивка вер. 3.53 (130 Кб)
| Для релейных выходов изменены пороги перехода из состояния "норма" в состояния "обрыв" и "КЗ". В модуле программного монитора введена возможность считывания прошивки прибора. Считывание и верификация прошивки приборов, находящихся в режиме "Авария" позволит определить место и характер "повреждения" кода программы. Эта информация даст возможность установить возможную причину повреждения исполняемого кода. | 01.01.2010 |
| Версия прошивки | Содержание отличий | Начало выпуска |
|---|---|---|
Прошивка вер. 3.52 (120 Кб) ![]() |
| 01.06.2017 |
| Версия прошивки | Содержание отличий | Начало выпуска |
|---|---|---|
Прошивка вер. 2.07 (48 Кб) ![]() | Сняты ограничения на включение режима автоматического запуска (включение "автоматики") при неисправности источника основного питания. В случае, если включен параметр конфигурации "Восстановление режима автоматики", снято ограничение на восстановление режима автоматического запуска при восстановлении цепи ДС двери. В случае сброса по питанию прибора, находящегося в режиме "Тушение", при восстановлении режима прибор автоматически переходит в режим "Сброс тушения". Индикация о пожаре при этом остается. | 01.01.2008 |
S2000-ASPT Operations Manual (255 Кб) 
S2000-ASPT ver.3.51 Engineer's and User's Manual (2 Mб) 
S2000-ASPT in a Centralized Gaseous System (91 Кб) 
S2000-ASPT in a Centralized Dry Chemical System (78 Кб) 
S2000-ASPT in a Standalone Gaseous Extinguishing System (74 Кб) 
S2000-ASPT in a Standalone Dry Chemical / Aerosol Extinguishing System (66 Кб) 
| Наименование | Цена (руб.) | |
|---|---|---|
| Блок приемно-контрольный и управления автоматическими средствами пожаротушения С2000-АСПТ, шт. | 13 880 | купить |